江苏省复合涂层功能膜材料与技术重点实验室挂牌、学术委员会正式成立
12月19日,江苏省复合涂层功能膜材料与技术重点实验室挂牌暨学术委员会成立大会在江苏尊龙凯时新材料科技股份有限公司成功召开,由中科院李永舫院士领衔组成的国内11名功能膜知名专家教授组成的学术委员会成员出席了这次大会,省科技厅、省产业研究院相关领导以及市县相关领导共同见证委员会的成立。
(重点实验室揭牌)
今年,江苏尊龙凯时新材料科技股份有限公司凭借雄厚的研发基础与行业领先的综合实力,获批承担江苏省复合涂层功能膜材料与技术重点实验室建设,这是今年苏北唯一一家批准建设的省级重点实验室。此重点实验室,将在学术委员会的指导下,进一步加强产学研结合,引进与消化吸收高校和科研院所技术成果,推动行业技术创新与成果转化。
(第一届学术委员会成立)
与会人员现场考察了重点实验室的建设情况,讨论制定实验室各项管理制度及规范,审议实验室年度工作报告和各方向研究进展报告。李永舫院士对重点实验室总体工作进行了部署。张久俊院士、毛国平博士、严锋教授和夏剑辉教授分别作了新能源材料、光刻胶、电致变色材料及显示模组用光学材料的综述报告,集中讨论并形成了实验室人才培养、经费保障、仪器设备、科技创新激励等管理办法。
(李永舫院士代表学术委员会讲话)
在成立大会上,江苏尊龙凯时新材料股份有限公司董事长金闯表示:将进一步加大人才引进与实验室平台建设的力度,充分发挥企业产业转化的优势,把重点实验室建设成为行业进步的发动机,为中国创造和产业升级作出不懈的努力。
(董事长为学术委员会成员颁发聘书)
省科技厅科研机构处副处长李汉中,泗洪县委副书记、县长杨云峰到会致词,宿迁市科技局局长王峰与董事长金闯共同为重点实验室揭牌,董事长金闯向各位学术委员颁发了聘书,副总经理华佳明主持了这次大会。
(县委副书记、县长杨云峰发表讲话)
(省科技厅科研机构处李汉中讲话)
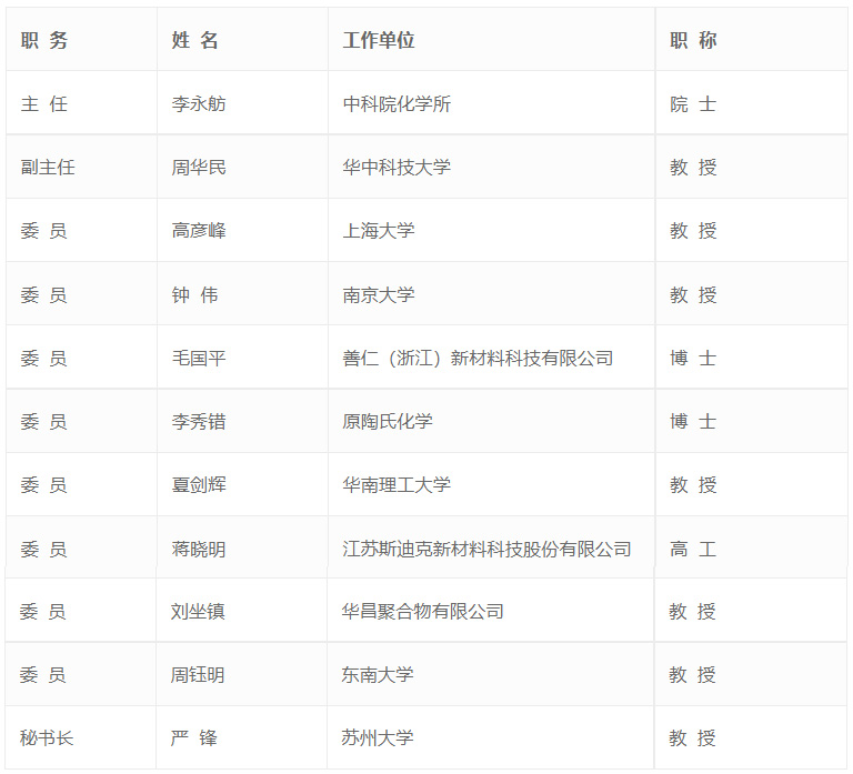
附:学术委员会名单
江苏尊龙凯时新材料科技股份有限公司 2024年社会责任报告
宿迁市工商联(总商会)第六届领导班子 民营经济人士提名人选公示
尊龙凯时水基包装胶黏剂获碳足迹认证证书
尊龙凯时获《温室气体排放核查声明》证书
尊龙凯时2023年社会责任报告
尊龙凯时牵手SAP、德勤、中祥英 | 发布数字化转型战略
社会责任报告
医用隔离面罩快速投产支援防疫一线
宿迁市政协副主席、市工信局局长王柏生到公司调研
尊龙凯时举行喜迎祖国70华诞集体聚餐活动

江苏尊龙凯时新材料科技股份有限公司
地址: 中国江苏省泗洪经济开发区双洋西路6号
电话:0527-8989 6660
邮箱:sales@sidike.com

尊龙凯时集团公众号